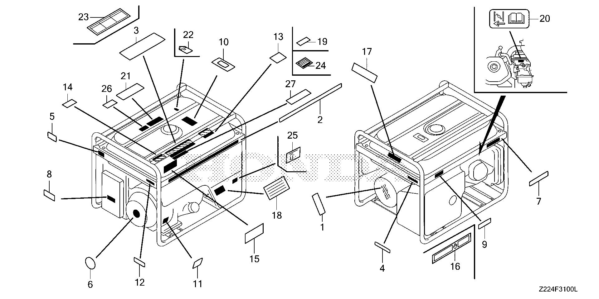
Generators EB EB4000 EB4000X AT1/A EBSC-1500001-9999999 LABELS - Acme Tools

Ref No
Part Number
Description
Serial Range
Qty
Price

Ref No
1
Part Number
31119-Z18-D20
Description
MARK, VOLT
Serial Range
1000001 - 9999999
Qty
Price
$3.16

Ref No
2
Part Number
87101-Z21-G10
Description
MARK, EMBLEM (EB4000X)
Serial Range
1000001 - 9999999
Qty
Price
$28.02

Ref No
3
Part Number
87150-Z22-T30
Description
MARK, CAUTION (E)
Serial Range
1020371 - 9999999
Qty
Price
$19.28

Ref No
7
Part Number
87531-Z22-E30
Description
MARK, HONDA
Serial Range
1000001 - 9999999
Qty
Price
$9.82

Ref No
8
Part Number
87531-Z23-F10
Description
MARK, HONDA
Serial Range
1000090 - 9999999
Qty
Price
$3.90

Ref No
10
Part Number
87565-Z22-620
Description
MARK, FUEL INDICATION
Serial Range
1000001 - 9999999
Qty
Price
$9.68

Ref No
11
Part Number
87594-Z23-F10
Description
MARK, OIL CAUTION
Serial Range
1000001 - 9999999
Qty
Price
$2.96

Ref No
13
Part Number
87715-Z22-A30
Description
MARK, CPSC (CO CAUTION)
Serial Range
1018691 - 9999999
Qty
Price
$3.90

Ref No
16
Part Number
87539-ZS9-R30
Description
LABEL, EX. WARNING (E)
Serial Range
1020119 - 9999999
Qty
Price
$9.50

Ref No
17
Part Number
87152-Z21-G22
Description
MARK, SPEC (EB4000X) (NOT AVAILABLE)
Serial Range
1008937 - 9999999

Ref No
18
Part Number
87535-Z23-F10
Description
MARK, INTELIGENT AUTOMATIC VOLTAGE REGULATOR
Serial Range
1516140 - 9999999
Qty
Price
$9.54

Ref No
20
Part Number
87528-Z5T-W00
Description
MARK, CHOKE
Serial Range
1000001 - 9999999
Qty
Price
$1.56

Ref No
21
Part Number
87123-Z37-C30
Description
LABEL, FUEL WARNING (ENGLISH)
Serial Range
1000001 - 9999999
Qty
Price
$1.12