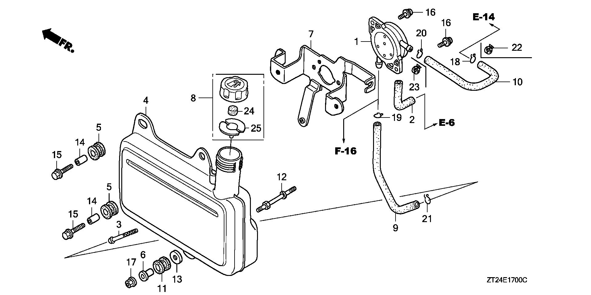
Generators EN EN2500 EN2500 AN EZFS-1100001-9999999 FUEL TANK (1) - Acme Tools

Ref No
Part Number
Description
Serial Range
Qty
Price

Ref No
1
Part Number
16700-Z0J-003
Description
PUMP ASSY., FUEL
Serial Range
1825179 - 9999999
Qty
Price
$93.10

Ref No
2
Part Number
16882-ZL8-000
Description
TUBE, DIAPHRAGM
Serial Range
1000001 - 9999999
Qty
Price
$2.82

Ref No
7
Part Number
17561-Z0J-000
Description
STAY A, FUEL TANK
Serial Range
1000001 - 9999999
Qty
Price
$7.34

Ref No
10
Part Number
17702-ZL8-000
Description
TUBE, FUEL
Serial Range
1709717 - 9999999
Qty
Price
$10.26

Ref No
16
Part Number
93894-05014-00
Description
SCREW-WASHER (5X14)
Serial Range
1000001 - 9999999
Qty
Price
$1.06

Ref No
18
Part Number
95002-02080
Description
CLIP, TUBE (B8)
Serial Range
1000001 - 9999999
Qty
Price
$2.20

Ref No
20
Part Number
95002-50000
Description
CLIP, TUBE (C9)
Serial Range
3325758 - 9999999
Qty
Price
$1.58