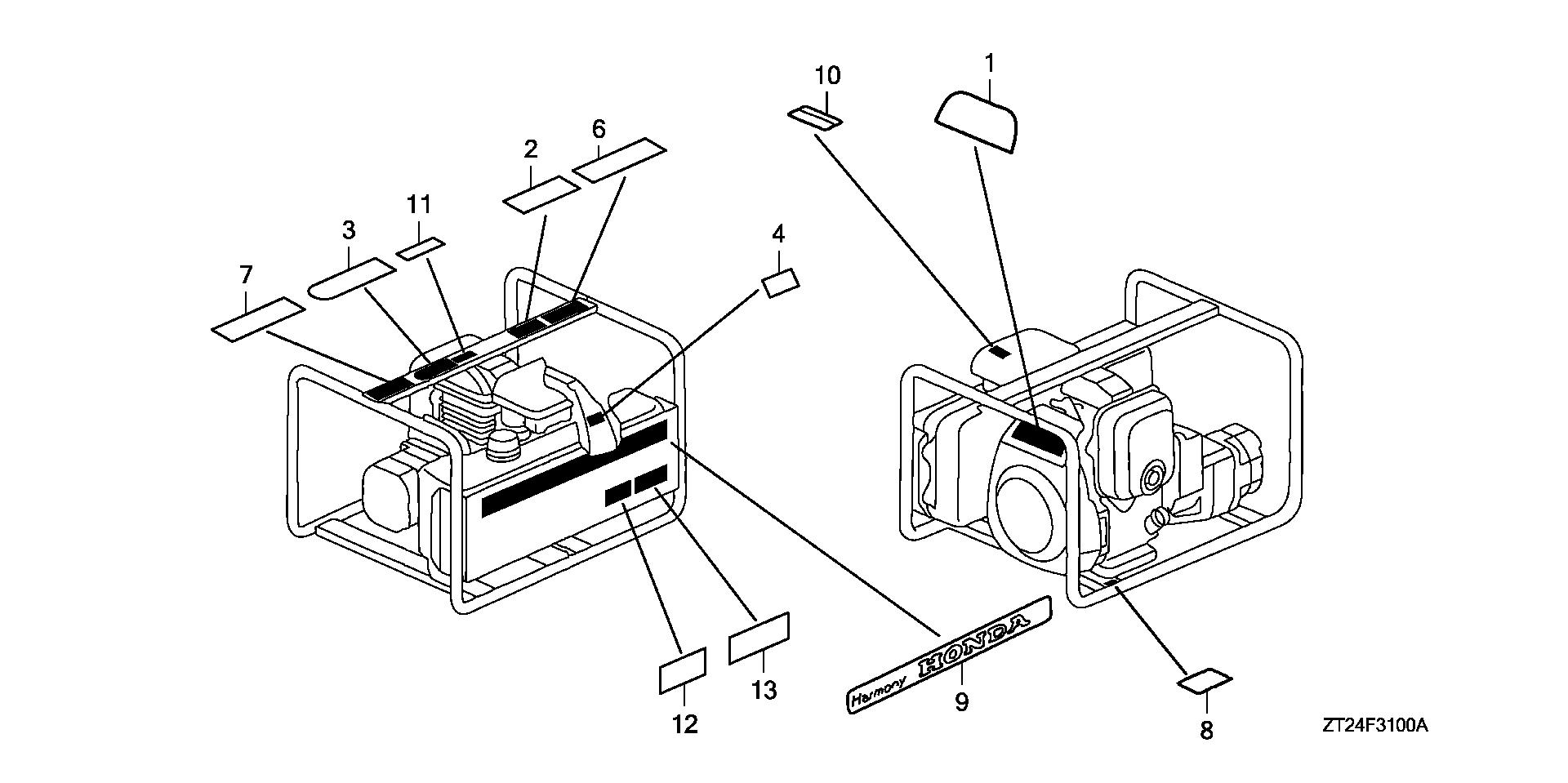
Generators EN EN2500 EN2500 AN EZFS-1100001-9999999 LABELS - Acme Tools

Ref No
Part Number
Description
Serial Range
Qty
Price

Ref No
1
Part Number
87150-ZT6-G32
Description
PLATE, CAUTION (EN2500)
Serial Range
1000001 - 9999999
Qty
Price
$12.98

Ref No
3
Part Number
87522-883-660
Description
MARK, CAUTION (ENGLISH/FRENCH/SPANISH)
Serial Range
1000001 - 9999999
Qty
Price
$4.86

Ref No
4
Part Number
87528-ZL8-000
Description
MARK, CHOKE
Serial Range
1000001 - 9999999
Qty
Price
$2.22

Ref No
7
Part Number
87563-ZB4-631
Description
LABEL, CONNECT WARNING (ENGLISH)
Serial Range
1000001 - 9999999
Qty
Price
$6.62

Ref No
8
Part Number
87594-ZB4-A00
Description
MARK, OIL CAUTION
Serial Range
1000001 - 9999999
Qty
Price
$4.18

Ref No
9
Part Number
87101-ZT2-J32
Description
EMBLEM (HARMONY) (NOT AVAILABLE)
Serial Range
1050845 - 9999999

Ref No
10
Part Number
87530-ZL8-850
Description
MARK, OIL ALERT (ENGLISH)
Serial Range
1050845 - 9999999
Qty
Price
$4.78

Ref No
11
Part Number
87114-ZT6-J20
Description
LABEL, WARNING
Serial Range
1000001 - 9999999
Qty
Price
$4.10

Ref No
12
Part Number
87168-ZC3-630
Description
LABEL, RAIN WARNING (ENGLISH)
Serial Range
1000001 - 9999999
Qty
Price
$5.22

Ref No
12
Part Number
87168-ZC3-630
Description
LABEL, RAIN WARNING (ENGLISH)
Serial Range
1000001 - 9999999
Qty
Price
$5.22

Ref No
13
Part Number
87561-880-600
Description
MARK, CAUTION (ENGLISH/FRENCH/SPANISH)
Serial Range
1000001 - 9999999
Qty
Price
$5.40

Ref No
13
Part Number
87561-880-600
Description
MARK, CAUTION (ENGLISH/FRENCH/SPANISH)
Serial Range
1000001 - 9999999
Qty
Price
$5.40