Generators ES ES6500 ES6500K1 AR EA1-1000005-1099999 LABELS (1) - Acme Tools

Ref No
Part Number
Description
Serial Range
Qty
Price

Ref No
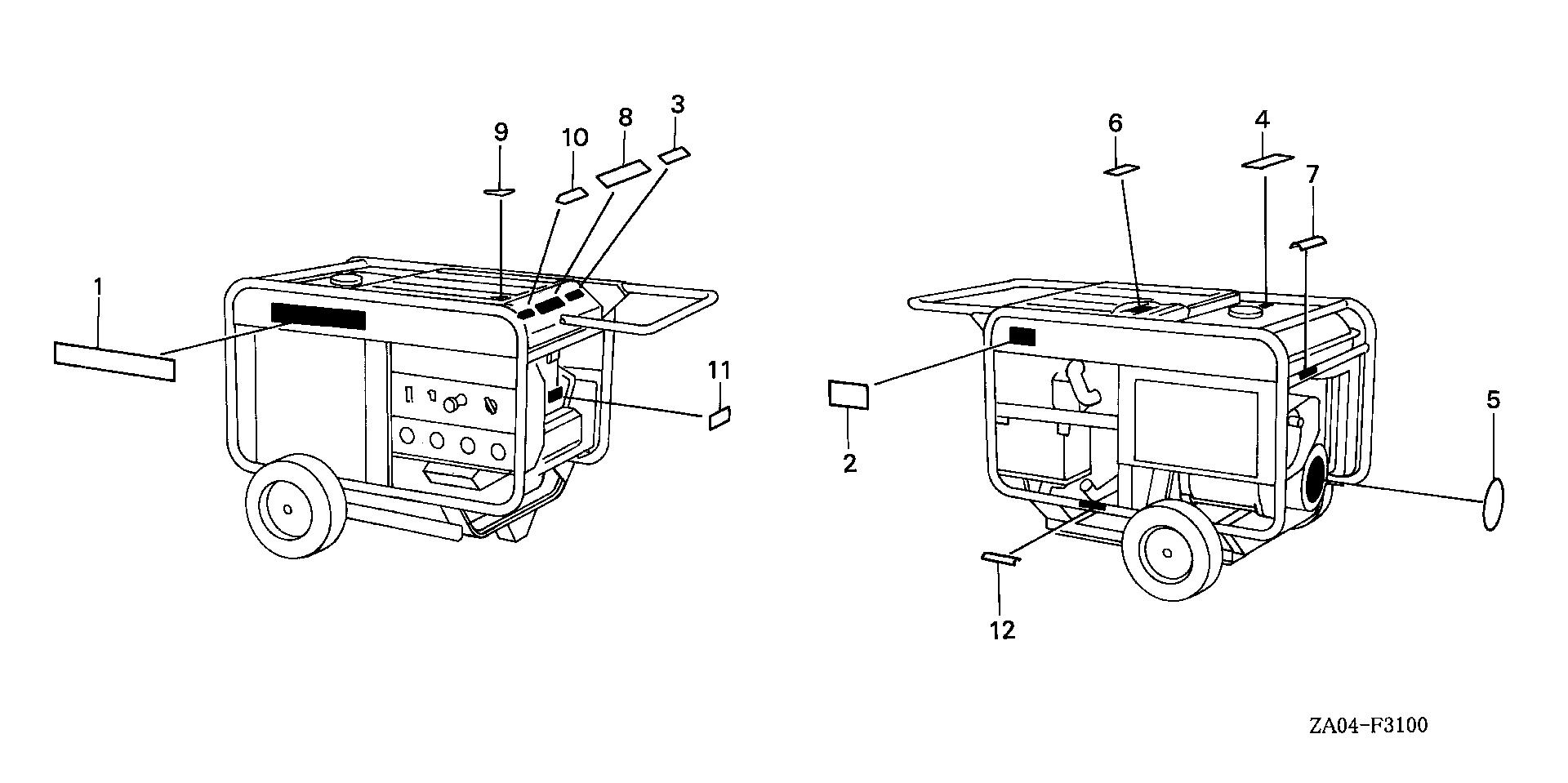
1
Part Number
87101-ZA0-632
Description
EMBLEM
Serial Range
1000001 - 9999999
Qty
Price
$16.64

Ref No
2
Part Number
87150-ZA0-631
Description
MARK, SPECIFICATION
Serial Range
1000001 - 9999999

Ref No
3
Part Number
87168-ZC3-630
Description
LABEL, RAIN WARNING (ENGLISH)
Serial Range
1038485 - 9999999
Qty
Price
$5.22

Ref No
4
Part Number
87522-883-660
Description
MARK, CAUTION (ENGLISH/FRENCH/SPANISH)
Serial Range
1139796 - 9999999
Qty
Price
$4.86

Ref No
5
Part Number
87531-ZA0-601
Description
MARK, ELECTRONIC IGNITION
Serial Range
1000001 - 1066453

Ref No
6
Part Number
87535-ZA0-000
Description
MARK, AIR CLEANER ARROW
Serial Range
1066454 - 9999999
Qty
Price
$1.84

Ref No
7
Part Number
87539-898-620
Description
MARK, EX. CAUTION (ENGLISH/FRENCH)
Serial Range
1000001 - 9999999
Qty
Price
$3.96

Ref No
8
Part Number
87551-ZA0-630
Description
MARK, CAUTION
Serial Range
1139796 - 9999999
Qty
Price
$11.02

Ref No
9
Part Number
87560-ZA0-Y00
Description
LABEL, RENTAL USE (E) (NOT AVAILABLE)
Serial Range
1139796 - 9999999

Ref No
10
Part Number
87563-ZB4-631
Description
LABEL, CONNECT WARNING (ENGLISH)
Serial Range
1000001 - 9999999
Qty
Price
$6.62

Ref No
12
Part Number
87594-ZA0-630
Description
MARK, OIL CAUTION
Serial Range
1000001 - 9999999
Qty
Price
$3.94