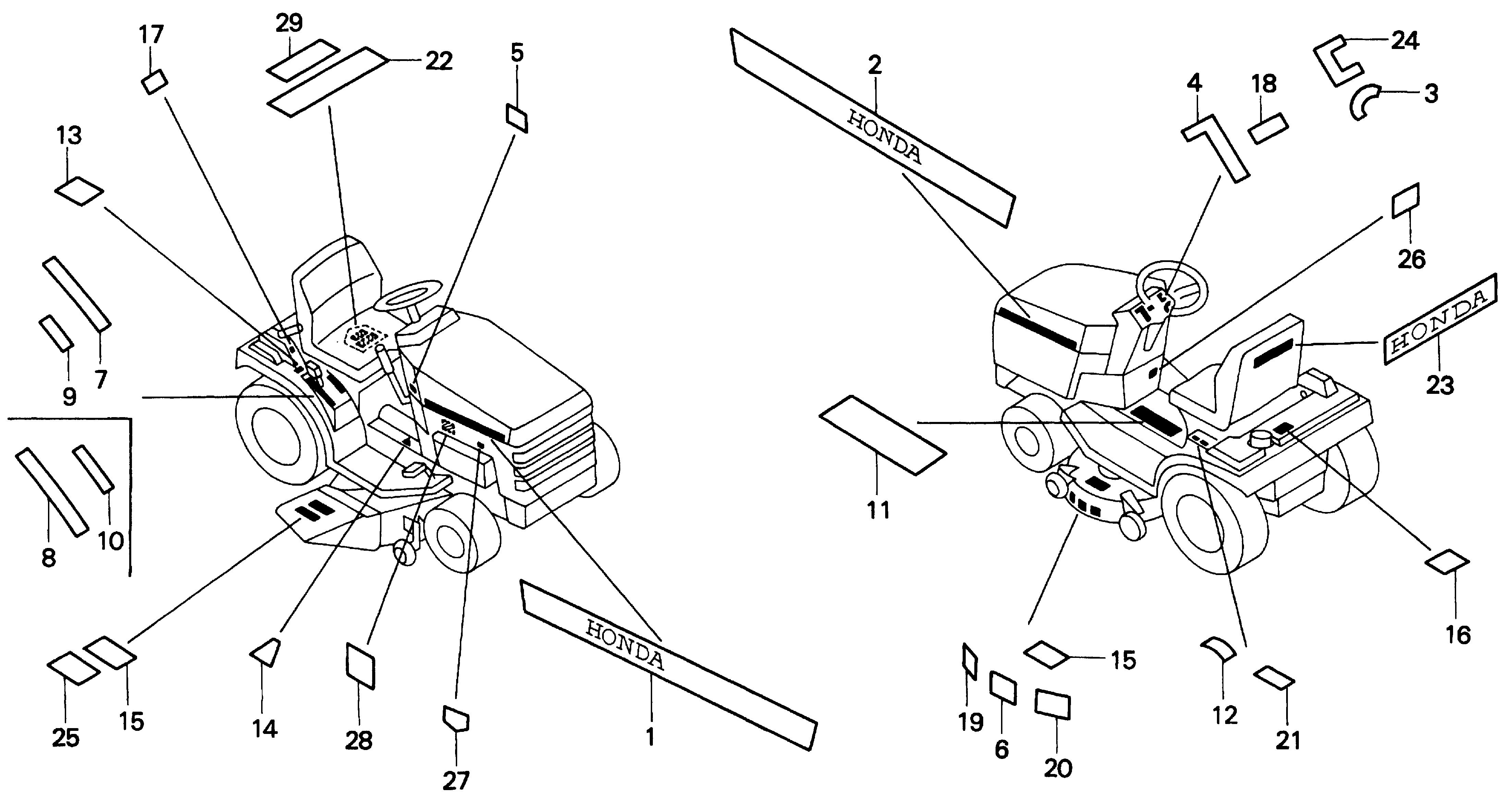
Lawn Tractor H H4518 H4518H HSA/C MZAT-3000001-3999999 LABELS - Acme Tools

Ref No
Part Number
Description
Serial Range
Qty
Price

Ref No
1
Part Number
87101-758-800
Description
MARK, R. STRIPE (4518)
Serial Range
1000001 - 9999999

Ref No
2
Part Number
87102-758-800
Description
MARK, L. STRIPE (4518)
Serial Range
1000001 - 9999999

Ref No
3
Part Number
87105-758-000
Description
MARK, ENGINE SWITCH INDICATION (ENGLISH) (NOT AVAILABLE)
Serial Range
1000001 - 9999999

Ref No
4
Part Number
87107-758-010
Description
MARK, THROTTLE INDICATION (NOT AVAILABLE)
Serial Range
1000001 - 9999999

Ref No
5
Part Number
87108-758-000
Description
MARK, P.T.O. INDICATION
Serial Range
1000001 - 9999999
Qty
Price
$6.06

Ref No
7
Part Number
87111-758-000
Description
MARK A, CHANGE (H.S.T.)(ENGLISH)
Serial Range
1000001 - 9999999

Ref No
9
Part Number
87112-758-000
Description
MARK B, CHANGE (H.S.T.)(ENGLISH)
Serial Range
1000001 - 9999999

Ref No
11
Part Number
87114-758-010
Description
LABEL, OPERATION (H.S.T.) (NOT AVAILABLE)
Serial Range
1000039 - 9999999

Ref No
12
Part Number
87116-758-000
Description
MARK, INDICATOR (NOT AVAILABLE)
Serial Range
1000001 - 9999999

Ref No
13
Part Number
87118-758-010
Description
MARK, PARKING OPERATION (NOT AVAILABLE)
Serial Range
1000001 - 9999999

Ref No
14
Part Number
87120-758-000
Description
MARK, BRAKE INDICATION (NOT AVAILABLE)
Serial Range
1000001 - 9999999

Ref No
16
Part Number
87123-763-A00
Description
LABEL, FUEL WARNING (B)(ENGLISH)
Serial Range
1000001 - 9999999

Ref No
21
Part Number
87138-758-000
Description
MARK, HEIGHT INDICATION (NOT AVAILABLE)
Serial Range
1000001 - 9999999

Ref No
22
Part Number
87149-758-000
Description
LABEL, MANUAL (H.S.T.) (NOT AVAILABLE)
Serial Range
1000001 - 9999999

Ref No
23
Part Number
87158-758-000
Description
MARK, SEAT EMBLEM
Serial Range
1000001 - 9999999
Qty
Price
$24.52

Ref No
24
Part Number
87161-758-000
Description
MARK, LIGHT SWITCH INDICATION (NOT AVAILABLE)
Serial Range
1000001 - 9999999

Ref No
26
Part Number
87271-758-010
Description
MARK, BUZZER CAUTION (ENGLISH) (NOT AVAILABLE)
Serial Range
1000001 - 9999999

Ref No
27
Part Number
87539-737-E80
Description
MARK, EX. CAUTION (A)
Serial Range
1002939 - 9999999
Qty
Price
$7.12

Ref No
29
Part Number
87603-763-D00
Description
LABEL, OIL RECOMMENDATION (ENGLISH)
Serial Range
1000001 - 9999999
Qty
Price
$5.84