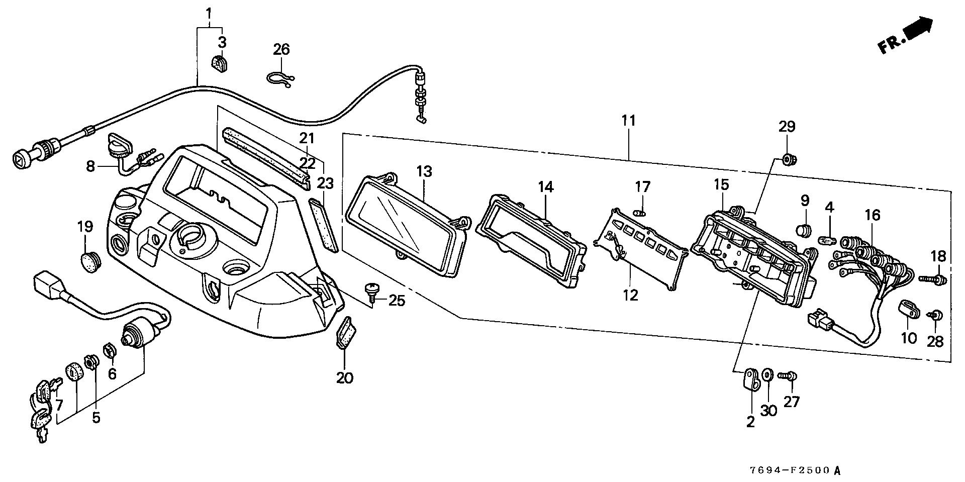
Ref No
Part Number
Description
Serial Range
Qty
Price
Ref No 1
Part Number 17950-769-000
Description CABLE, CHOKE
Serial Range 1000001 - 9999999
Qty
Price $34.96
Add To Cart
Ref No 2
Part Number 30564-ZE8-003
Description CLAMP, IGNITION WIRE
Serial Range 1000001 - 9999999
Qty
Price $3.46
Add To Cart
Ref No 3
Part Number 31512-ZG3-000
Description GROMMET, WIRE
Serial Range 1000001 - 9999999
Qty
Price $3.52
Add To Cart
Ref No 4
Part Number 34908-GA7-701
Description BULB, WEDGE BASE (T10) (12V 3.4W) (NIPPON SEIKI)
Serial Range 1000001 - 9999999
Ref No 4
Part Number 37102-567-009
Description BULB (12V3.4W) (158)
Serial Range 1000001 - 9999999
Ref No 4
Part Number 37237-SA5-003
Description BULB (14V 3.4W) (NS)
Serial Range 1000001 - 9999999
Qty
Price $6.12
Add To Cart
Ref No 4
Part Number 37237-SA5-004
Description BULB (14V 3.4W) (DENSO)
Serial Range 1000001 - 9999999
Ref No 5
Part Number 35100-769-003
Description SWITCH ASSY., COMBINATION
Serial Range 1000001 - 9999999
Ref No 6
Part Number 35102-758-010
Description BASE, COMBINATION SWITCH (NOT AVAILABLE)
Serial Range 1000001 - 9999999
Ref No 7
Part Number 35110-VA3-902
Description KEY ASSY., COMBINATION SWITCH
Serial Range 1000001 - 9999999
Ref No 7
Part Number 35110-VA3-903
Description KEY ASSY., COMBINATION SWITCH
Serial Range 1000001 - 9999999
Qty
Price $10.48
Add To Cart
Ref No 8
Part Number 36100-765-A01
Description SWITCH ASSY., ENGINE STOP (NOT AVAILABLE)
Serial Range 1000001 - 9999999
Ref No 9
Part Number 37116-KG4-008
Description CAP A
Serial Range 1000001 - 9999999
Ref No 10
Part Number 37121-ML7-671
Description CLAMP
Serial Range 1000001 - 9999999
Qty
Price $3.70
Add To Cart
Ref No 11
Part Number 37150-769-003
Description INDICATOR ASSY.
Serial Range 1000001 - 9999999
Ref No 12
Part Number 37151-769-003
Description METER, FUEL
Serial Range 1000001 - 9999999
Ref No 13
Part Number 37154-752-003
Description GLASS
Serial Range 1000001 - 9999999
Ref No 14
Part Number 37156-752-003
Description PLATE, REFLECTING
Serial Range 1000001 - 9999999
Ref No 15
Part Number 37157-752-003
Description CASE
Serial Range 1000001 - 9999999
Qty
Price $94.66
Add To Cart
Ref No 16
Part Number 37158-769-003
Description SOCKET
Serial Range 1000001 - 9999999
Ref No 17
Part Number 37304-KM7-911
Description RUBBER, CUSHION
Serial Range 1000001 - 9999999
Qty
Price $10.72
Add To Cart
Ref No 18
Part Number 37305-KE5-008
Description SCREW-WASHER (3X22)
Serial Range 1000001 - 9999999
Qty
Price $3.52
Add To Cart
Ref No 19
Part Number 50285-ZV4-000
Description GROMMET, CARRYING HANDLE
Serial Range 1000001 - 9999999
Qty
Price $4.12
Add To Cart
Ref No 20
Part Number 61438-769-000
Description SEAL D, COLUMN COVER (45MM)
Serial Range 1000001 - 9999999
Ref No 21
Part Number 77210-769-000ZA
Description PANEL, INSTRUMENT *NH105* (MAT BLACK)
Serial Range 1000001 - 9999999
Ref No 22
Part Number 77216-769-300
Description SEAL, INSTRUMENT
Serial Range 1000001 - 9999999
Qty
Price $10.80
Add To Cart
Ref No 23
Part Number 77218-769-300
Description SEAL, INSTRUMENT SIDE
Serial Range 1000001 - 9999999
Qty
Price $6.66
Add To Cart
Ref No 25
Part Number 90123-750-000
Description SCREW, METER VISOR SETTING
Serial Range 1000001 - 9999999
Qty
Price $4.62
Add To Cart
Ref No 26
Part Number 90630-751-000
Description CLIP, PURSE LOCK
Serial Range 1000001 - 9999999
Qty
Price $2.46
Add To Cart
Ref No 27
Part Number 93500-05025-0H
Description SCREW, PAN (5X25)
Serial Range 1000001 - 9999999
Qty
Price $0.92
Add To Cart
Ref No 28
Part Number 93903-24420
Description SCREW, TAPPING (4X16)
Serial Range 1000001 - 9999999
Qty
Price $1.10
Add To Cart
Ref No 29
Part Number 94050-05080
Description NUT, FLANGE (5MM)
Serial Range 1000001 - 9999999
Qty
Price $0.46
Add To Cart
Ref No 30
Part Number 94101-05800
Description WASHER, PLAIN (5MM)
Serial Range 1000001 - 9999999
Qty
Price $1.20
Add To Cart