RV Generators EV EV4010 EV4010 RA/A ECA-1007536-1099999 LABELS - Acme Tools

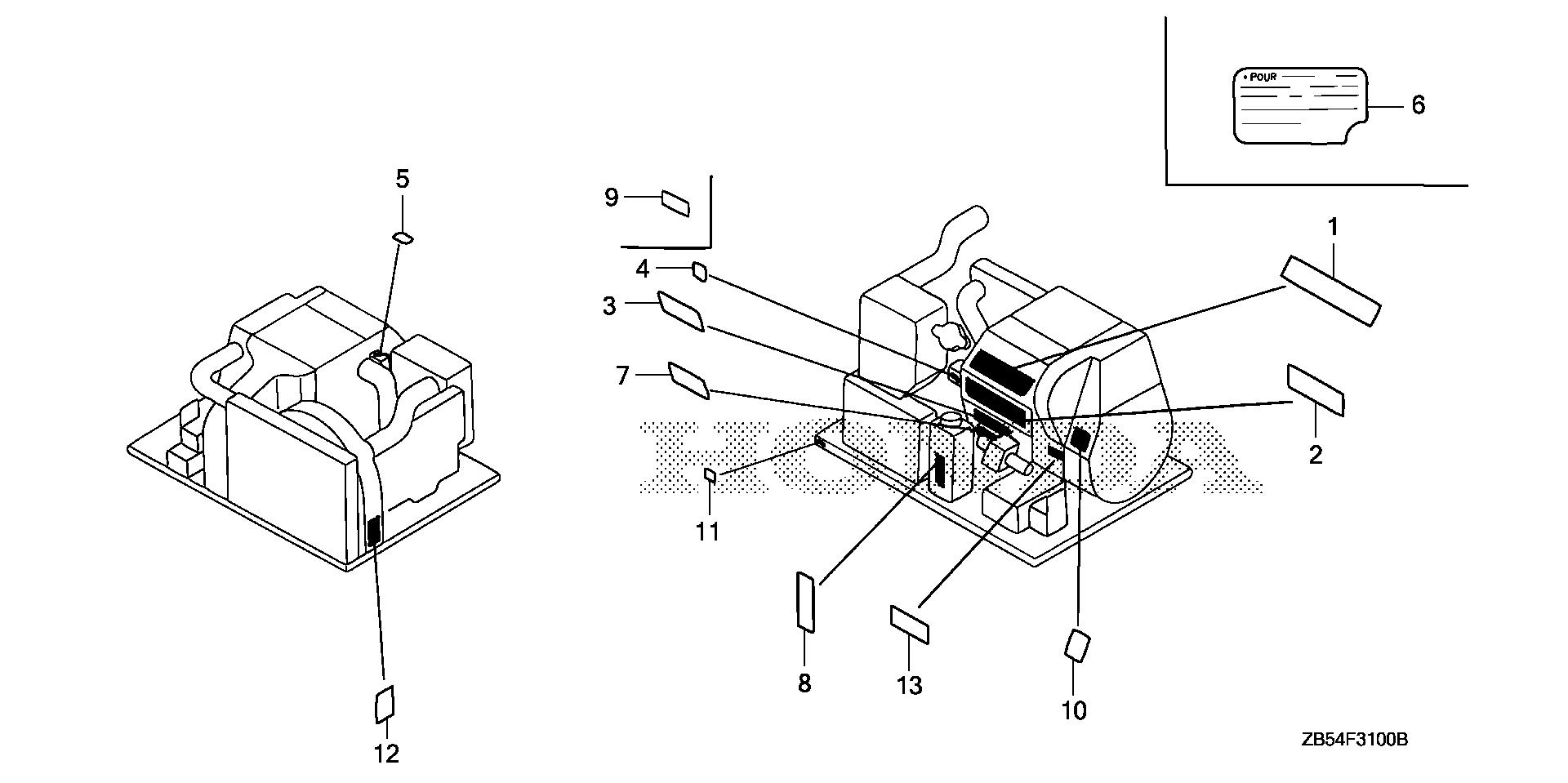
Ref No
Part Number
Description
Serial Range
Qty
Price

Ref No
1
Part Number
87511-ZB5-830
Description
PLATE, INTERVAL WARNING (ENGLISH/FRENCH)
Serial Range
1000001 - 9999999
Qty
Price
$19.48

Ref No
2
Part Number
87101-ZB5-640
Description
EMBLEM (EV4010)
Serial Range
1000001 - 9999999
Qty
Price
$11.06

Ref No
3
Part Number
87563-ZB5-830
Description
PLATE, CONNECT WARNING (ENGLISH/FRENCH)
Serial Range
1000001 - 9999999
Qty
Price
$20.22

Ref No
5
Part Number
87533-ZB5-831
Description
PLATE, AIR CLEANER WARNING
Serial Range
1000001 - 9999999
Qty
Price
$5.96

Ref No
6
Part Number
87542-ZB5-640
Description
LABEL, REMOTE OPENER (FRENCH)
Serial Range
1000001 - 9999999
Qty
Price
$4.50

Ref No
8
Part Number
87563-ZB5-630
Description
MARK, COOLANT INDICATION (ENGLISH/FRENCH)
Serial Range
1000001 - 9999999
Qty
Price
$4.98

Ref No
9
Part Number
87589-ZB5-830
Description
PLATE, INSTALLATION WARNING (ENGLISH/FRENCH)
Serial Range
1000001 - 9999999
Qty
Price
$13.14

Ref No
10
Part Number
87594-ZB5-630
Description
MARK, OIL CAUTION
Serial Range
1000001 - 9999999
Qty
Price
$4.98

Ref No
11
Part Number
87596-895-721
Description
MARK, GRAND
Serial Range
1000001 - 9999999
Qty
Price
$1.80

Ref No
12
Part Number
87597-ZB5-830
Description
PLATE, SET UP CAUTION (ENGLISH/FRENCH)
Serial Range
1000001 - 9999999
Qty
Price
$17.86